
- Voltage: AC230V±10% 50/60Hz, Single phase or AC110V±10% 50/60Hz, Single phase
- Dimensions: (L)410mm x (W)410mm x (H)810mm
- Air Pressure: 6~8 kgs/cm2
- Motor Power: 60W
- Capacity: 1~2 seconds per bottle
Application

- Capping for lids of various bottles, jars, atomizer, etc.
- Widely used in cosmetic, drink, chemical, medical, food industry etc which can highly improve the productivity and products quality.
Specifications
- Voltage: AC230V±10% 50/60Hz, Single phase or AC110V±10% 50/60Hz, Single phase
- Dimensions: (L)410mm x (W)410mm x (H)810mm
- Air Pressure: 6~8 kgs/cm2
- Motor Power: 60W
- Capacity: 1~2 seconds per bottle
Custom specifications according to customer bottles are available to meet the requirement of any bottle specification

Features
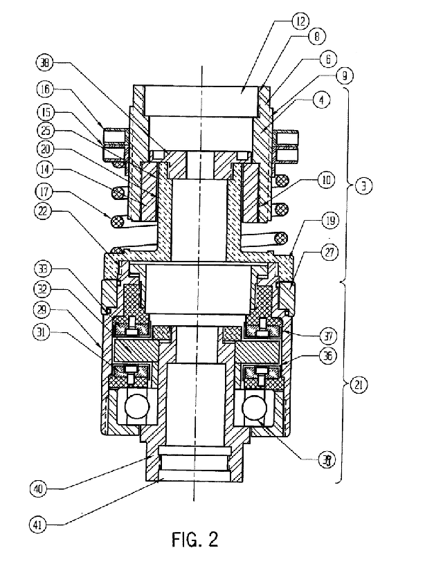
- Made from anodized harden aluminum. Durable and rarely needs servicing.
- Ideal for small to medium volume batch production as well as laboratory use.
- Slim design saves space.
- With high strength and flexible PU will safeguard the cap from damage.
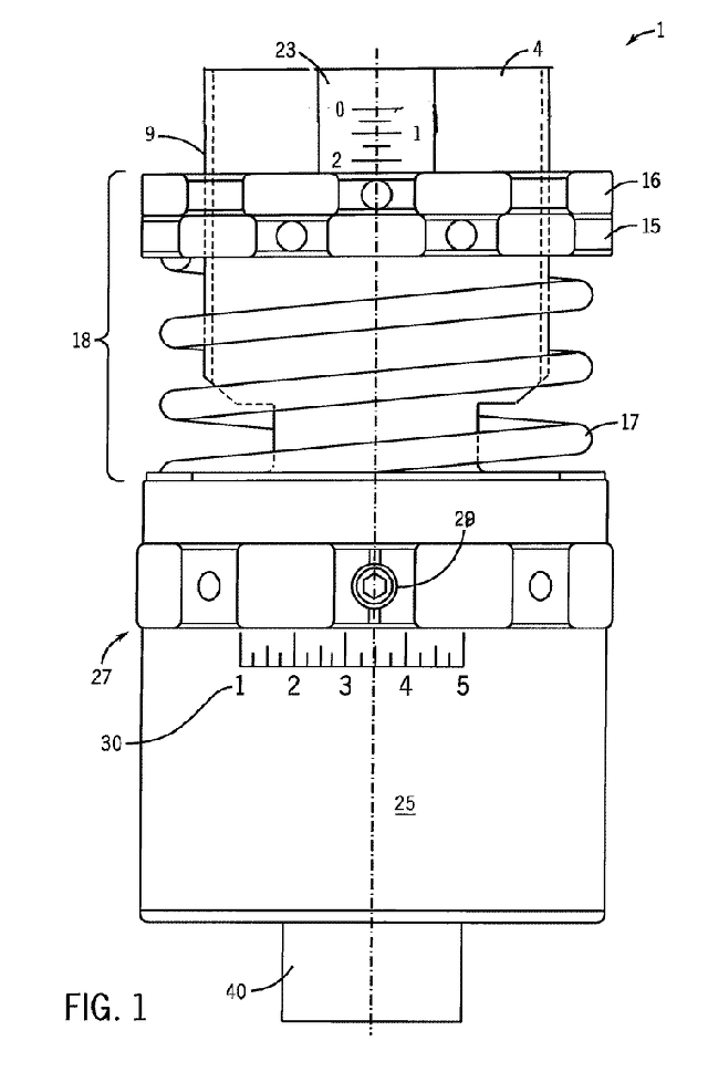
- With hoisting stopwatch and wind-up mounting, the operator can adjust the capping mold easily. (Maximum height of container can be 680mm)
- With removable / changeable capping mold is convenient for any different types / diameters of cap and change easily.

Quotation: FOB (Shanghai) the below mentioned quotation based
Package: Each machine wrapped by PO film, then packed to standard wooden case.
Production Lead: 20 workdays after getting the down payment 30%, the other 70% payment collected before shipping
Guarantee: For all the machine, it claims 1 years for guarantee. (Excluded from the warranty are problems due to accidents, misuse, misapplication, storage damage, negligence, or modification to the equipment or its components. Also the easy broken spare part is not included in the guarantee)
Installation: After the machine arrive your factory, if you need, our technician will go to your place to install and test the machine and also training your worker to operating the machine (the time of train depend on you worker). The expenses (air ticket, food, hotel, the travelling fee on your country) should be on your account and you need paid for the technician usd150 per day. Also you can go to our factory to do training.
After Service: If you get the problem on the machine, our technician will go to your place to fixed the machine as soon as possible. The cost should be in your account (as above).
A Guide To Learn About The Capping Machines:
A Capping Machine is used to securely apply plastic or metal threaded caps, lids, snap caps, plugs and other similar closures to bottles or containers at low and extremely high speeds. Not only can Capping Machines save a product line time and money, Cappers also contribute to maintaining a sanitary work space.
How Do The Capping Machine Work?
A full capping system includes a cap hopper, cap elevator, cap sorter and the actual capping machine. Boxes of caps, lids, plugs or other closures are poured into the cap hopper. The cap elevator slowly feeds the closures into the cap shoot or sorting bowl in order increase the efficiency of the entire cap delivery system.
The sorting bowl is used to orient them correctly before sending the caps down a shoot to the capping machine for secure placement on the bottle or container. New england machinery also offers a cap sorter hopper elevator that eliminates the need for a sorting bowl when applicable.
What Are The Different Types Of Cappers?

Rotary Chuck Cappers – Rotary Chuck Cappers work by placing a cap onto a bottle or container, then sending it through the machine where moving parts spin the cap so it is sealed tightly. The best part about this capper is the bottle or container stay in continuous motion so the line never needs to stop.
Single Head Cappers – Single Head Cappers are similar to Rotary Chuck Cappers, however, this capper completely stops the bottle or container at stations to spin the caps onto the container while the bottle / container remains stationary. Depending on your needs, this can be designed to be inline, keeping your bottles on the main conveyor, or with a star wheel that takes your bottle or container off the line to secure the cap and then returns it to the line.
Snap Cappers/ Lidders – Snap Cappers and Lidders most commonly use a vacuum collet to pick up the lid and then press the snap-on cap or lid onto each bottle or container as it passes through the machine.
Servo Cappers – Technically, any of our cappers could be upgraded to become a Servo driven Capper. Servo is an upgraded motor used in capping machines developed for more flexibility, accuracy and efficiency. This feature specifically offers better spindle control, precise application torque, tighter torque tolerances and real time feedback to users. Though not needed for every application, it serves as a great benefit for some.

Why Should I Contact VKPAK For My Capping Needs?
Five simple reasons.

QUALITY - We build reliable, long lasting and high-quality machines.
EXPERIENCE – We know the technology and provide well thought out & executed solutions.
REPUTATION – We care about our customers and they love telling people about it.
SERVICE – We support our customers with a knowledgeable service and parts staff.
POSITION – We are made in the China and report to you, our customers, not shareholders.









